1
/
of
4
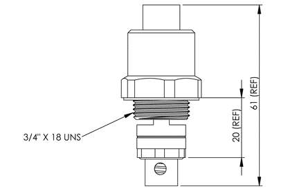
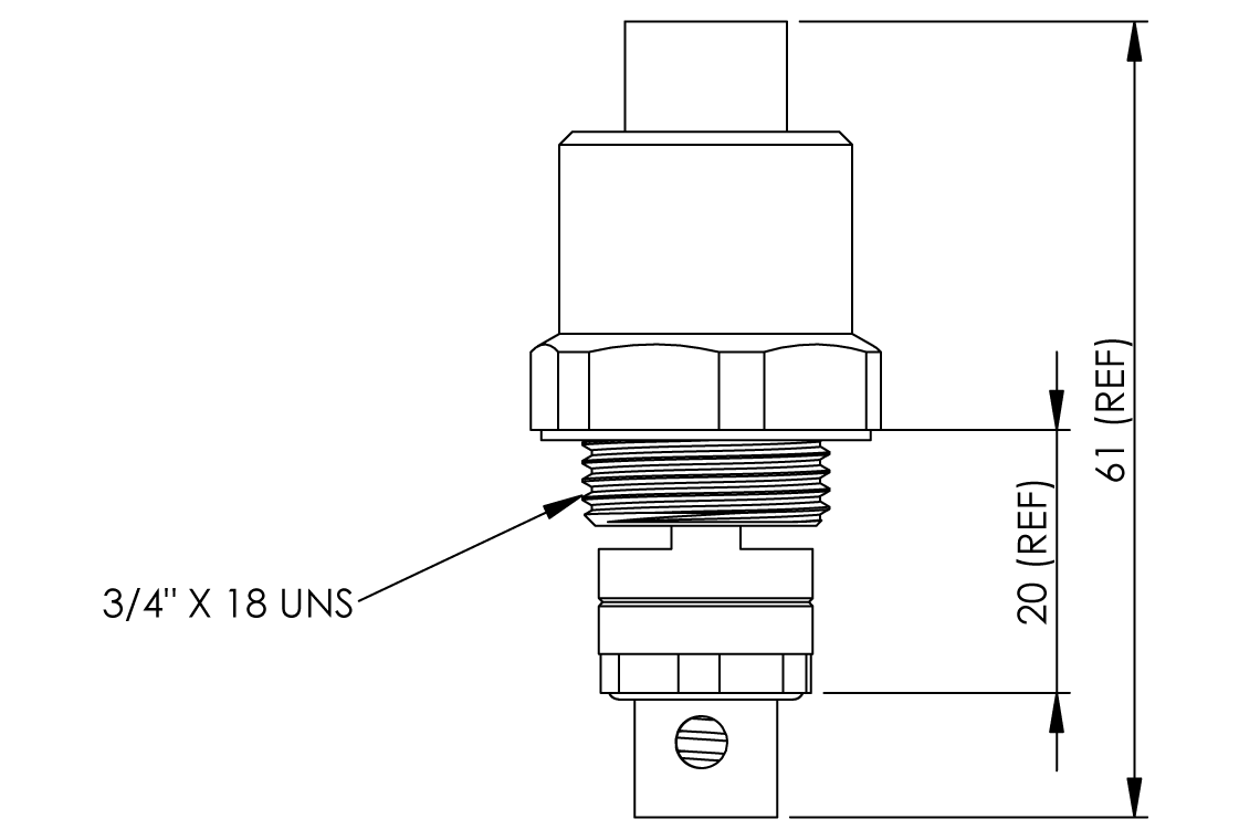
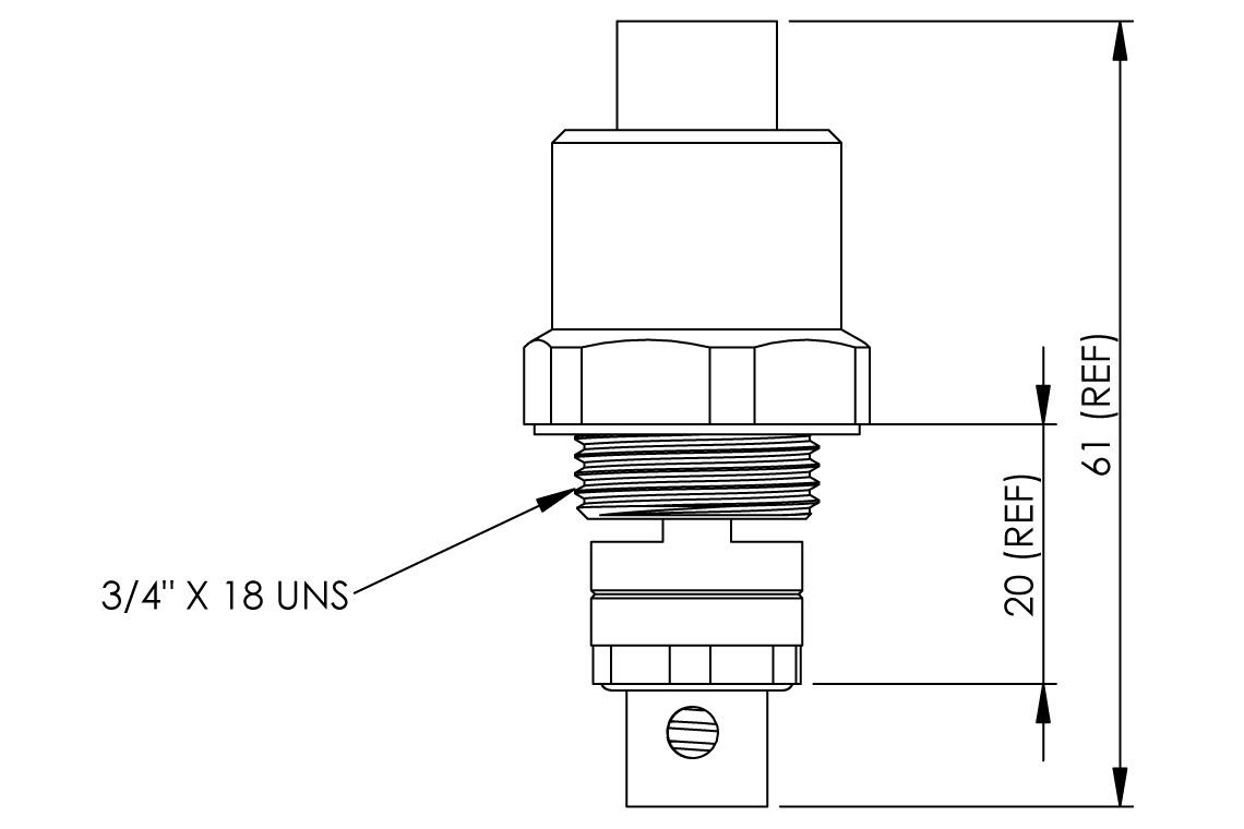
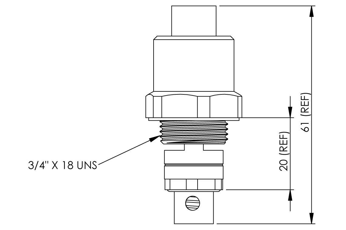
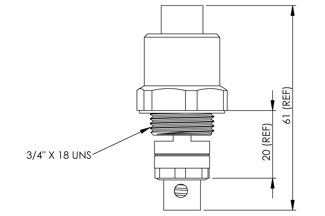
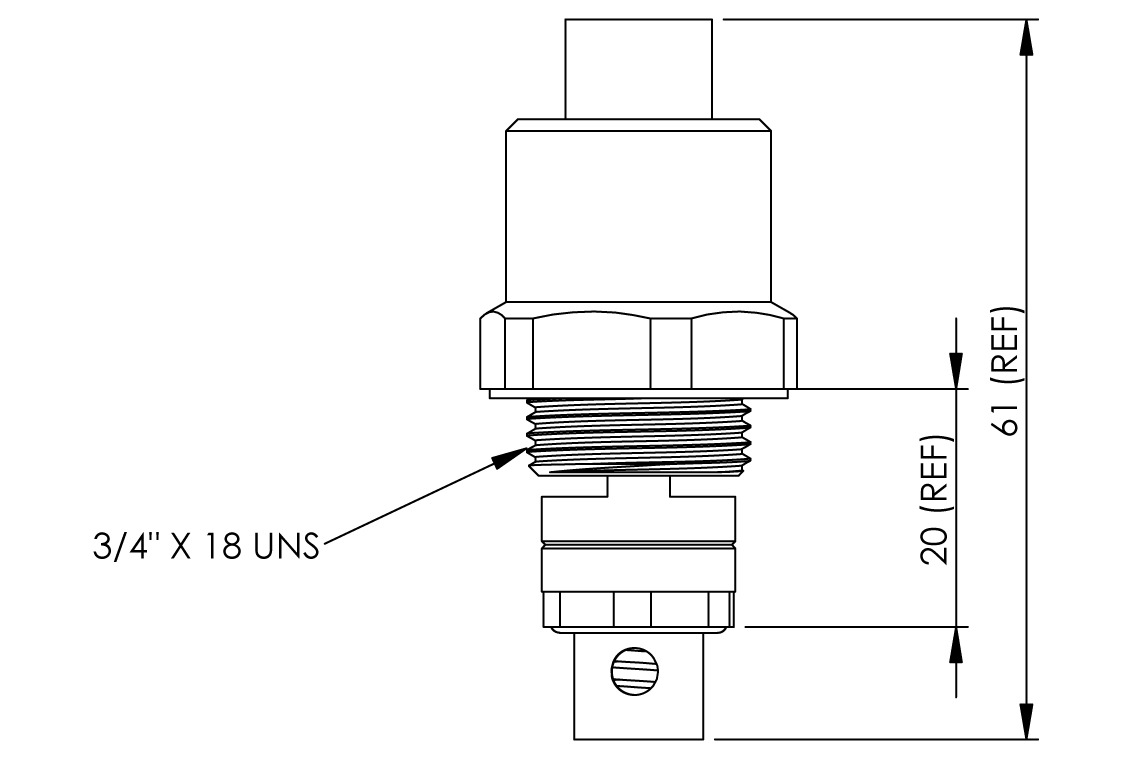
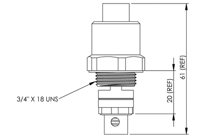
Food Service - Stuffing Box Assembly - FS721/FS729
Food Service - Stuffing Box Assembly - FS721/FS729
Product Code: FS721S
Couldn't load pickup availability
Product description
Food Service Spare Parts - Stuffing Box Assembly - Suits FS721 and FS729
- Certifications
- WMKA1583 - LF,Lead Free
BIM Files
Brochures
Dimensional Drawings
Product Information



